锘?!DOCTYPE html PUBLIC "-//W3C//DTD XHTML 1.0 Transitional//EN" "http://www.w3.org/TR/xhtml1/DTD/xhtml1-transitional.dtd">
鍚嶇О錛?2S404鏌旀ч槻姘村綆?
鏍囩錛?/strong>鏌旀ч槻姘村綆?/a> 鏌旀у綆?/a> 02S404
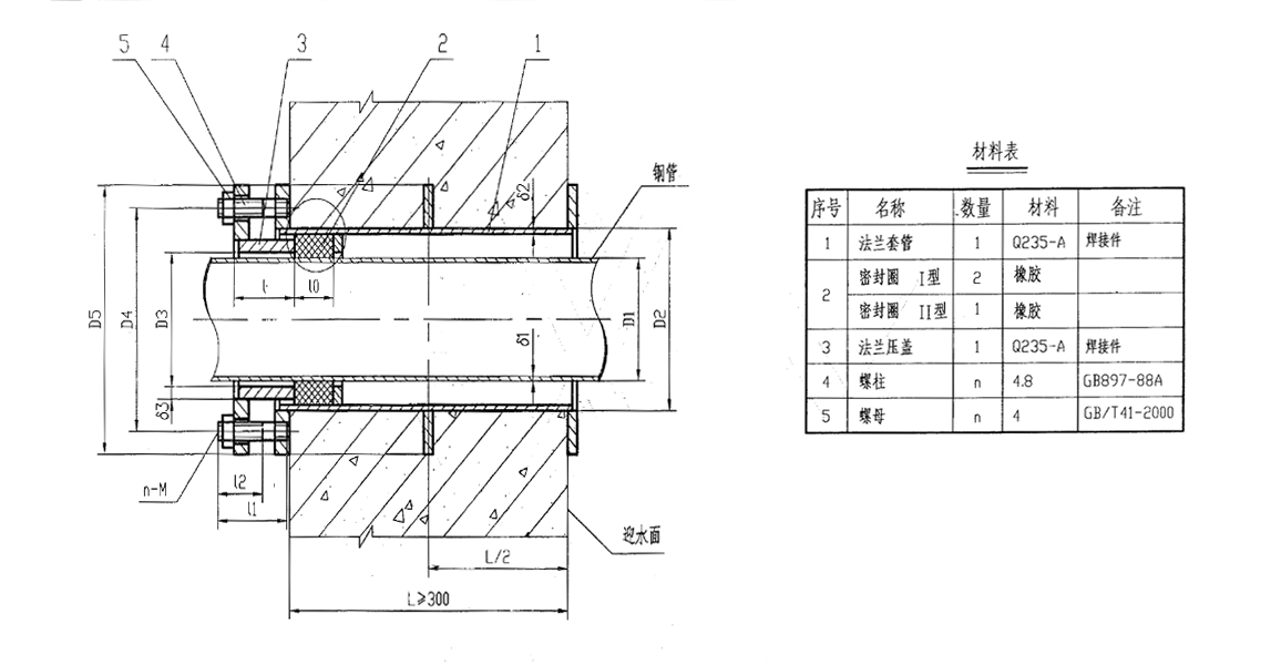
鏌旀ч槻姘村綆℃槸閫傜敤浜庣閬撶┛榪囧澹佷箣澶勫彈鏈夋尟鍔ㄦ垨鏈変弗瀵嗛槻姘磋姹傜殑鏋勭瓚鐗╃殑浜旈噾綆′歡錛屼竴鑸敓浜т紒涓氭槸鏍規嵁寤虹瓚縐戝鐮旂┒闄㈢爺鍒惰璁$殑S312銆?2S404鏍囧噯鍥鵑泦鍒墮犵殑銆傛煍鎬ч槻姘村綆$┛澧欏涔嬪澹侊紝濡傞亣闈炴販鍑濆湡鏃跺簲鏀圭敤娣峰嚌鍦熲?

1銆佸綋榪庢按闈負鑵愯殌鎬т粙璐ㄦ椂錛屽彲閲囩敤灝佸牭鏉愭枡灝嗙紳闅欏皝鍫點傗?br/>2銆佸綆$┛澧欏濡傞亣闈炴販鍑濆湡澧欏鏃訛紝搴斿眬閮ㄦ敼鐢ㄦ販鍑濆湡澧欏錛屽叾嫻囩瓚鑼冨洿搴旀瘮緲肩幆鐩村緞錛圖5錛夊ぇ200錛岃屼笖蹇呴』灝嗗綆′竴嬈℃祰絳戜簬鍐呭銆傗?br/>3銆佺┛澧欏娣峰嚌鍦熷澹佸帤搴斾笉灝忎簬300錛屽惁鍒欏簲浣垮澹佷竴杈瑰姞鍘氭垨涓よ竟鍔犲帤錛屽姞鍘氶儴鍒嗙殑鐩村緞鑷沖皯涓篋5+200銆傗?br/>4銆佸綆$殑閲嶉噺浠=300璁$畻錛屽澧欏帤澶т簬300鏃訛紝搴斿彟琛岃綆椼傗?br/>5銆佹煍鎬у~鏂欐潗鏂欙細娌ラ潚楹諱笣銆佽仛鑻箼鐑澘銆佽仛姘箼鐑場娌鏂欐澘銆傗?br/>6銆佸瘑灝佽啅錛氳仛紜瘑灝佽啅銆佽仛姘ㄩ叝瀵嗗皝鑶忋傗?br/>7銆佺剨鎺ョ粨鏋勫昂瀵稿叕宸簬褰綅鍏樊鎸夌収JB/T5000.3-1998鎵ц銆傜剨鎺ラ噰鐢ㄦ墜宸ョ數寮х剨錛岀剨鏉″瀷鍙稥4303錛岀墝鍙稪422銆傜剨緙濆潯鍙e緱鍩烘湰褰㈢姸浜庡昂瀵告寜鐓B985-88鎵ц銆傗?br/>8銆佸綋濂楃閲囩敤鍗峰埗鎴愬瀷鏃訛紝鍛ㄥ巶鍏佽鍋忓樊涓猴細D2鈮?00錛孌2>600鹵0.0035D2銆?/p>
涓鑸湪鍋氭按姹犵殑鏃跺欒鐢ㄥ埌濂楃錛屽畠鏄閬撻氬悜姘存睜鐨勯氶亾銆備絾鏄櫘閫氱殑濂楃寰堥毦瀵嗗皝錛屼互鑷村綆′笌綆¢亾涔嬮棿浼氭湁婕忔按銆佸綆′笌澧欏涔嬮棿涔熸槗婕忔按銆傚彧鐢ㄩ槻姘村綆★紝鍙互瑙e喅濂楃涓庡澹佷箣闂寸殑婕忔按錛屼絾涓嶈兘瑙e喅濂楃涓庣閬撲箣闂寸殑瀵嗗皝錛屾煍鎬ч槻姘村綆℃濂藉彲浠ヨВ鍐充袱縐嶉棶棰樸?br/>濂楃鍙垎涓猴細鏅氬綆★紞錛嶆瘮瑕佺敤鐨勭閬撶矖2-4鍘樼背錛屽浐瀹氬湪澧欐垨鏉垮唴錛岀閬撲粠涓氳繃銆傛煍鎬у綆★紞錛嶅氨鏄湪濂楃涓庣閬撲箣闂寸敤鏌旀ф潗灝佸牭璧峰埌瀵嗗皝鏁堟灉銆?/p>
濡傞渶鏈鏂版暟鎹鑱旂郴鍦ㄧ嚎瀹㈡湇
娌沖崡鑹紬綆′笟鏈夐檺鍏徃 鎵嬫満鍙鳳細18638277136 鍥鴻瘽錛?371-64018718 浼犵湡錛?nbsp;0371-64018718 閭錛?50165323@qq.com 鍦板潃錛氬琺涔夊競瑗挎潙闀囪タ鏉?nbsp; 緗戝潃錛?a href="http://www.bj-explosive.com.cn" target="_self">http://www.bj-explosive.com.cn